Отопление в частна къща с циркулационни помпи
Днес рядко намирате къща за отопление, изградена според класическата гравитационна схема. Почти навсякъде се използва циркулационна помпа за отопление. Това устройство е полезно и функционално, но намалява общите изисквания за точност при проектирането на тръбопроводната мрежа. В същото време, без принудителен източник на циркулация, функционирането на такива технологични отоплителни системи в частна къща или апартамент, като отопляем под, е невъзможно.
съдържание
Проектиране и принцип на работа на циркулационната помпа
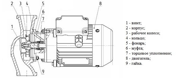
Устройството на циркулационната помпа - изпълнението на стандартната схема центробежна машина, Основните структурни звена включват:
- корпус на помпата;
- ротор, който предава въртенето от вала на двигателя към турбинния блок;
- турбинно колело с наклонени лопатки, което също се нарича ротор;
- средства за запечатване, изолиране от вода или охлаждаща течност;
- основната електрическа верига, която превключва режимите на работа и следи параметрите на двигателя.

Циркулационните помпи могат да имат различна форма на тялото и разположението на изпускателните и входящите дюзи. Това се прави, така че устройството е просто монтирано, обслужвано при работните условия, за които е проектиран. По-специално, изборът на помпата може да се извърши според вида на връзката: с фланец, резбова връзка, гайка.
Циркулационната помпа е малки размери, Той често е вграден директно във вътрешната кухина на корпуса на битови газови котли. С монтаж с помпата могат да се монтират устройства за безопасност.Малкият размер на компресора е лесен за разбиране, предвид целта на циркулационните помпи. От тях не се изисква да записват силата на течността. Всъщност те преместват водата буквално в хоризонтална посока.
Задачата на циркулационните помпи е да преодолеят хидравличното съпротивление на тръбопроводите. Ако се вземе под внимание колекторната група на отопляем под, вентилаторът е зает да създава поток с много малък обем като такъв, тъй като в този тип отоплителна верига няма значителни гравитационни сили.
Принципът на циркулационната помпа може да се илюстрира с няколко точки.
- Охлаждащата течност влиза в входа.
- Когато двигателят е включен, въртящият момент се предава през ротора към турбинното колело.
- Въртящо се колело с наклонени лопатки движи водата, която се движи до ръба на диска под въздействието на механиката (разпределение на силите върху наклонена равнина), както и поради центробежната сила.
- Докато се приближавате до ръба на диска, скоростта на потока на водата се увеличава, както и налягането му.
- Течността се отвежда в изхода.
Тъй като водата или охлаждащата течност се придвижват до ръба на турбинното колело, в смукателната дюза се получава подналягане, което прихваща нова част от работната течност за транспортиране.
Това е важно! Циркулационната помпа на котли за газ или твърдо гориво е в състояние ефективно да поддържа определена дължина на тръбопроводите, като изпомпва количеството охлаждащо средство, посочено в спецификациите. Ако се нуждаете от повече производителност и налягане - не е необходимо да купувате отделен външен компресор. В системата можете да инсталирате допълнителна помпа, която ще създаде необходимия поток или ще помогне за повишаване на водата до втория етаж. Същото се прави, когато е изградена разпределена, остъклена система за подово отопление.
Както конвенционалните системи за отопление на дома и двойна помпа могат да използват различни видове вентилатори. Основната разлика между моделите, предлагани на пазара в инженерното решение на роторно-турбинната зона.
Мощни роторни помпи
Помпи за циркулация с мокър ротор - най-често срещаният тип компресор за отоплителната система на частна къща или апартамент. Устройствата са така наречени поради факта, че работата на възлите се извършва директно в охладителната течност.
- Роторът е поставен в специално стъкло с уплътняваща или вихрова защита срещу течове.
- По време на работа, части от ротора, включително обикновените лагери, са във водата или охлаждащата течност.
- Има непрекъснато смазване и охлаждане на части от конструкцията.
Благодарение на тези характеристики на работа, мокрите системи се отличават със стабилност, няма нужда от поддръжка, нисък шум.
За да се предотврати навлизането на въздух в областта на ротора, помпата е оборудвана с изпускателни отвори. Горната част е предназначена за работа с автоматизирана система, а през газта в предната част на кутията газът се освобождава по време на пускане в експлоатация или настройка.

Това е важно! Пускането на помпа с мокър ротор при условие, че въздухът навлиза в тръбопровода, води до рязко увеличаване на износването на движещи се части, прегряване, изземване или непоправима повреда на оборудването. Не се препоръчва наличието на абразивни частици в охлаждащата течност. Следователно, водната помпа с мокър ротор трябва да се монтира само в затворена отоплителна система.
Сухи роторни помпи
Помпата със сух ротор се изпълнява с внимателно изолиране на турбинния блок от течове, Системата има няколко предимства и недостатъци.
- Предимството на сухи системи при по-добро охлаждане - повечето от възлите не са в контакт в отоплителната система с гореща охладителна течност.
- Сухите помпи са по-шумни.
- Общото ниво на надеждност на помпите със сух ротор е по-ниско поради по-големия брой уплътнения, липсата на постоянно смазване.
Основното предимство на вентилаторите от сух тип обаче е, че те не се страхуват от въздуха., Те също така са по-малко възпрепятствани от абразивното окачване във вода - само турбина страда от него, чийто изход до повреда е много по-висок от този на роторното устройство с неговите плъзгащи се лагери. Ето защо такива вентилатори трябва да бъдат избрани, ако е изградена отворена отоплителна система с циркулационна помпа.

Помпи с контролирана скорост
Скоростта на помпата в отоплителната система играе голяма роля. С помощта на промените могат да бъдат постигнати:
- оптимален режим на работа на отоплителното оборудване;
- стабилизиране на температурата на всички радиатори, независимо от обхвата на тяхното местоположение от котела;
- намаляване на температурата на охлаждащата течност при постоянна ефективност на нагряване, тъй като при по-висока скорост на циркулация водата всеки проход губи по-малко енергия.
Днес на пазара се предлагат различни технически решения за помпи. За отопление на дома може да се използва модел с една скорост, чието функциониране трябва да бъде избрано според характеристиките на котела и общия обем на охлаждащата течност. Предлагат се два, три, четири скоростни модела, Тяхната работа се основава на промяна на схемата на превключване на полюсните двойки на двигателя.

По-технологично, но и значително скъпо решение е честотният контрол. Помпата от този тип не осигурява стъпално превключване, а гладко регулиране на скоростта. Това ви позволява да прецизирате работата на отоплителния кръг.
Използването на циркулационни помпи в отоплението на къщата
Тъй като някои функции на работата на циркулационните помпи за вода в различни отоплителни схеми вече са споменати по-горе, е необходимо да се разгледа по-отблизо основните характеристики на тяхната организация. Заслужава да се отбележи, че при всички случаи компресорът е поставен на тръбата за връщане на потока, ако битовото нагряване предполага повишаване на течността до втория етаж - там е инсталиран друг пример на компресор.
Затворена система
Най-важната характеристика на затворена отоплителна система - херметизация, тук:
- топлоносителят не влиза в контакт с въздуха в помещението;
- в затворена тръбопроводна система налягането е по-високо от атмосферното;
- разширителният резервоар е изграден съгласно схемата на хидро-компенсатора с мембрана и зона на въздух, която създава обратно налягане и компенсира разширяването на охлаждащата течност при нагряване.
Съвет! За затворена верига можете да направите разширителен резервоар със собствените си ръце. Капацитетът му се изчислява чрез прости формули, в зависимост от общия обем на водата в системата.
Предимствата на затворена отоплителна система са многобройни. Те включват способността да се извършва обезсоляване на охлаждащата течност за нула седимент и мащаб на топлообменника на бойлера, наливане на антифриз за предотвратяване на замръзване и способността да се използват широк спектър от съединения и вещества за топлопредаване, вариращи от разтвор на вода-алкохол до моторно масло.
Схемата на затворена отоплителна система с еднотръбна и двутръбна помпа е както следва:


При инсталиране Mayevsky ядки при радиатори за отопление се подобрява настройката на веригата, не са необходими отделни въздушни изпускателни системи и предпазители пред циркулационната помпа.
Това е важно! Затворената отоплителна система, изградена без наклон на тръбите, която зачита нивото на основните линии на движение на охлаждащата течност, не работи без циркулационна помпа. Той също така не функционира, когато захранването е изключено.
Отворена отоплителна система
Външните характеристики на отворена система са подобни на затворени: една и съща тръба, радиатори, разширителен резервоар. Но съществуват кардинални разлики в механиката на работа.
- Основната движеща сила на охлаждащата течност - притегляне, Отопляемата вода се издига през тръбата за разширение, за да се увеличи циркулацията, се препоръчва да се направи възможно най-дълго.
- Захранващите и възвратните тръби са наклонени.
- Разширителен резервоар - отворен тип. В него охладителят е в контакт с въздуха.
- Налягането в отворената отоплителна система е атмосфера.
- Циркулационната помпа, монтирана на връщащия поток, действа като циркулационен бустер.Неговата задача е и да компенсира недостатъците на тръбната система: прекомерно хидравлично съпротивление, дължащо се на прекомерни стави и завъртане, нарушаване на ъглите на накланяне и други неща.
Една отворена отоплителна система изисква поддръжка, по-специално постоянно зареждане на охлаждащата течност, за да компенсира изпарението от открит резервоар. Също така в мрежата от тръбопроводи и радиатори непрекъснато се подлагат на корозионни процеси, поради които водата се насища с абразивни частици и се препоръчва да се инсталира суха роторна циркулационна помпа.
Схемата на отворената отоплителна система е, както следва:

Може да се работи с отворена отоплителна система с правилни ъгли на наклон и с достатъчна височина на ускоряващата тръба при изключване (прекратяване на циркулационната помпа). За да направите това, в структурата на тръбопроводите направи байпас. Отоплителната схема изглежда така:

Когато захранването е спряно, достатъчно е да отворите клапана на заобикалящата линия, така че системата да продължи да работи върху веригата за гравитационно движение. Това устройство също улеснява стартирането на отоплението.
Система за подово отопление
При топлата система на пода, правилното изчисление на циркулационната помпа и изборът на надежден модел е гаранция за стабилна работа на системата. Без принудителното впръскване на вода, такава структура просто не може да работи. Принцип на инсталиране на помпата следното:
- горещата вода се подава към входната тръба от котела, която се смесва през смесителния агрегат с подножието на подгрявания под;
- захранващият колектор за подово отопление е свързан към изхода на помпата.
Разпределението и управлението на подовото отопление е както следва:

Системата работи съгласно следния принцип.
- На входа на помпата е инсталирана основен термостатуправление на смесителната единица. Той може да получава данни от външен източник, например, дистанционни датчици в стаята.
- Топлата вода достига до захранващия колектор при зададена температура и се отклонява през мрежа от подово отопление.
- Възвратният поток има по-ниска температура от потока от котела.
- Термостатът с помощта на миксерното устройство променя съотношението на горещия поток на котела и охлаждания връщащ поток.
- Водата се изпомпва през помпата при определена температура към разпределителния разпределителен колектор на подгряван под.
Това е важно! В такава структура няма гравитационен компонент на кръвообращението. Следователно, когато изключите захранването и помпата, подовото отопление просто не работи.
Основни характеристики на циркулационните помпи
Основните характеристики, с които се избира изборът на циркулационната помпа:
- наляганепоказващи способността на устройството да вдига вода до определена височина;
- ефективността и потреблениетопоказвайки колко флуид доставя за единица време.
Тези параметри са важни при изчисляването на отоплителната система. Главата ще ви позволи да разберете дали компресорът е в състояние да поддържа тръбопроводната мрежа с определена разлика във височината. А консумацията се изчислява според изискванията на отоплителния котел за планирания обем на охлаждащата течност.
Друг фактор, който често е много важен за потребителя, е размерът на инсталацията на устройството. Това е размерът на помпата, се обмисля щателно, дали компресорът е планиран да бъде вграден в съществуващ тръбопровод, като същевременно се осигури чиста и незабележима инсталация.
Всички данни, от които потребителят има нужда маркиране на предния панел, Номерата на циркулационната помпа означават:
- тип устройство (най-често е UP - циркулира);
- тип на регулиране на скоростта (не е определена - единична скорост, S - превключване на скоростта, E - гладко регулиране на честотата);
- диаметър на дюзата (означен в милиметри означава вътрешния размер на тръбата);
- глава в дециметри или метри (може да варира от различни производители);
- монтажен размер.
Маркировката на помпата съдържа информация за типовете връзки на входящите и изходящите тръби. Пълната схема за кодиране и последователността на думите са както следва:


Отговорните производители винаги следват стандартните правила за етикетиране. Независимо от това, отделни фирми не могат да определят част от данните, например монтажния размер. Той трябва да бъде разпознат директно от документацията за устройството.
Съвети за избор на циркулационна помпа
Изборът на циркулационната помпа винаги се извършва след внимателно изчисление, което отчита типа на отоплителното оборудване, обема на охлаждащата течност, измененията на височините, минималната необходима производителност на компресора.
Затова си струва да изберете помпа само от доказани марки, Надеждните устройства са представени в средната ценова категория. И ако се нуждаете от най-високо качество и имате възможност да платите половин до два пъти повече - трябва да обърнете внимание на продуктите на марките GRUNDOFS, WILO.
Преглеждайте популярни модели
Невъзможно е да се даде ясно име на най-добрия модел сред компресорите, без да е ясно сегментиране според условията на експлоатация. Ето защо оценката на циркулационните помпи за отопление е конкуренцията на марките и основните характеристики на оборудването, което те предлагат.
1. UPS на "Грюнфос"
Един от най-добрите популярни и качествени видовете помпи. Компания с корените в Дания осигури максимална надеждност, използвайки неръждаеми ръкави, керамични лагери, турбинни колела от композитни материали. Модерните роторни помпи имат следните характеристики:
- ниска консумация на енергия от 45 до 220 W;
- много ниско ниво на шума (до 43 dB) и вибрации - можете да разберете, че помпата работи, можете само да я сложите на ръка;
- широк температурен диапазон от 2 (-20 за отделни модели) до 110 градуса по Целзий;
- проста инсталация;
- нетърпимост, липса на услуга;
- дълготрайност, експлоатационен живот е най-малко 10 години.
Помпите на UPS от Grundfos са много компактни и леки. Техните недостатъци включват висока цена до два пъти по-високи от конкурентите. Въпреки това, популярността на продуктите от тази марка показва, че техните характеристики оправдават ценовия маркер.

Помпа Grundfos UPS 25/40
2. Wilo Star-RS
Продуктите от тази марка се считат за най-надеждни. При проектирането и електронните схеми се използват само доказани и прости решения. Помпите се характеризират с:
- икономика;
- прост регулиране на мощността;
- надеждност, дълготрайност - чугунен корпус, турбинно колело от полипропилен, лагери от метален графит, валове от неръждаема стомана;
- работна температура от -10 до 110 градуса по Целзий;
- защита от пренапрежения и вълни;
- лесно инсталиране.
Помпите Wilo Star-RS са компактни, лек, без поддръжка, Тяхната цена също е по-висока от конкурентите, но е по-ниска от тази на лидера на рейтинга. Потребителите отбелязват, че при най-висока скорост помпата започва да създава шум с течение на времето.

Помпа Wilo STAR-RS25 / 4-130
3. Джилекс "Компас"
Серията "Кръг" е разумен избор, силна средна с атрактивни характеристики и стойност. Помпите се отличават с:
- ефективност;
- прост скоростен превключвател;
- малки размери;
- ниско ниво на шум до 65 dB;
- богато оборудване и лесен монтаж;
- толерантност към грешки поради липсата на сложни технически решения и използването на надеждни материали;
- ниска цена
Производствената компания разполага с богата сервизна мрежа, но потребителите отбелязват, че помпите от серията "Circular" на Jilex изключително рядко се счупят.

Помпа Джилекс "Компас" 25/60
4. DAB VA
Поредица от помпи от италианския производител е оптимален баланс на производителност и цена. Те не са в състояние да предлагат рекордни номера, но са надеждни, адаптирани към реалностите на битовите електрически мрежи. Устройствата характеризират:
- тристепенна настройка на скоростта;
- лесна инсталация с помощта на бързо прикачване;
- два типа монтажни размери 130 и 180 мм;
- ниво на шума до 70 dB;
- достъпни разходи.
Съвет! Днес пазарът представя актуализирана линия на DAB VA, където въпросът за надеждността е внимателно развит.Използват се корпус от алуминиев корпус, технополимерно турбинно колело, керамичен вал и опорен лагер, графитни втулки, много части от неръждаема стомана и ново поколение уплътнителни пръстени в EPDM.

Циркулационна помпа DAB VB 55/120
заключение
Днес на пазара можете да закупите циркулационна помпа. Освен тези, представени в класацията по-горе, се предлагат адаптивни системи, самоопределящи параметрите на работния флуид и промяна на производителността. За потребителя най-важното е да се изчисли правилно необходимата производителност на компресора. И тогава, ако не купувате откровено нежелани продукти на китайската гаражна индустрия, отоплителната система с висококачествена помпа ще функционира дълго време, плавно и стабилно.

/rating_off.png)


