Какво е месомелачката
Месомелачката е механичен домакински уред, изработен от метал или неговите сплави за преработка на различни хранителни продукти. Ръчната версия отдавна е остаряла и модерни и мощни електрически модели я заменят. Устройството на месомелачката от нов тип и принципа на неговото действие - това е темата, която ще разкрием в тази статия.

съдържание
достойнство
Преди да разберете подробно устройството на електрическия месомелачка, дайте му предимство пред другите домакински уреди, по-специално неговия механичен предшественик.
- Електрическият месомелачка е по-мощен от който и да е комбинат в подобен режим, да не говорим за мускулната сила на обикновен човек.
- Електрическият месомелачка ще смила всеки продукт по-бързо, отколкото човек прави в ръчната версия на продукта - спестява време и усилия.
- Електрическото устройство се справя пенливо месо - не е необходимо непрекъснато да се развива продуктът, да се почиства ножът и да се сглобява отново.
- Електрически моторни машини могат да работят върху всяка равна повърхност без прикачване.
- Безопасност на работата с тях той е снабден с по-тесен гърло с достатъчна дължина, така че пръстите не могат да достигнат шнека. Комплектът включва специален пластмасов тласкач.

дизайн
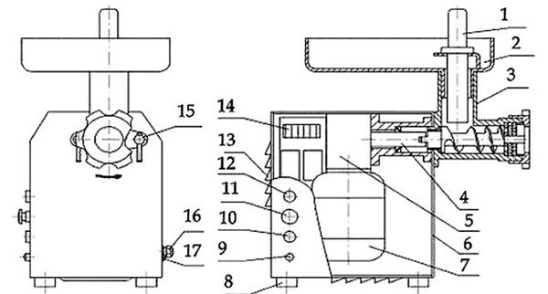
Модерният електрически месомелачка е оборудван със следните основни части и компоненти:

- трайно пластмасово устройство за натискане на продукти в устройството;
- тава или купа;
- металокерамика;
- моторно задвижване;
- редуктор;
- основното тяло на пластмасовия продукт;
- електрически мотор;
- гумени крака за предотвратяване на приплъзване на масата по време на работа;
- LED индикатор за включване на месомелачката;
- обратно;
- бутон за аварийно спиране;
- започнете;
- решетка за изхода на отопляемия въздух;
- затягащо устройство;
- заключване;
- захранващ кабел;
- заземителна скоба.
Схемата на месомелачката, показана на фигурата, е произволна - устройството на различни модели мелници има свои собствени нюанси, но основните компоненти са еднакви за всички.
Тялото на приемника за месо, където се извършва преработката на продуктите, се състои от подобни части като ръчната версия:
- метална кутия;
- приемник и табла или купа;
- винтов вал;
- нож;
- решетка;
- заключваща гайка.

В зависимост от модела, основните части могат да бъдат прикрепени:
- решетки с отвори с различни диаметри;
- допълнителни ножове;
- оригинални дюзи или рендета за преработка на зеленчуци и плодове;
- устройства за образуване на тесто;
- конична дюза за приготвяне на домашни колбаси, колбаси и кърпички.
Всички горепосочени детайли са работните тела на месомелачката. За да направят домакините визуално запознати с пакета от пакети и целта на различните аксесоари, има видео на примера на белоруския електрически месомелачка KEM 36 "Assistant":
Основни подробности
Работните тела на съвременното месомелачка имат различна цел.Вече описахме подробно от какво се състои електрическият продукт и сега ще ви разкажем за функционалните характеристики на всички компоненти.
Електрически мотор
Това е сърцевината на продукта, качеството на обработката на продуктите зависи от правилната му работа, той задвижва шнека на миксера. На някои модели има няколко скорости, но ще ви разкажем за опциите, които имат всички продукти.
- Autorevers - Благодарение на тази функция потребителите нямат проблеми, когато проводниците са навити на винта и пречат на нормалната работа. Достатъчно е да натиснете ключа и моторът, въртящ се в обратната посока, ще върне залепените части на продукта в таблата.
- За да предпазите двигателя от възможно претоварване бутон за аварийно спиранекойто блокира подаването на ток, моторът спира.

винт
Това е основната част на мелницата, която осигурява преминаването на продуктите вътре в продукта до самия изход. Направете винта на издръжливия метал или неговите сплави, той има външен вид спирали с мощни тласкачи, които, докато се придвижват, изрязват излишъка или ги смилат, когато падат между края на твърдите ребра и корпуса на устройството.

От задната страна се поставя специална втулка на винтовия вал, която предотвратява проникването на течни образувания във връзката с предавателната кутия.
Режеща част
Ножът изпълнява своите присъщи функции - изрязване и смилане на продукти, преди да ги премине през специални стоманени устройства. Всички модели модерни домакински уреди от този клас са оборудвани ковани ножове от неръждаема стомана, тъй като те винаги работят в среда, в която има наличие на течност.
В процеса на работа по време на бързото въртене те се самоострят около стоманата на решетката, но понякога те трябва да бъдат отделно заточени върху шкурката, за да се даде на ръба специална острота - колкото по-тънки са режещите ръбове, толкова по-добра е обработката на продуктите.



Нарязването и рязането зависи от структурата на ножа и от неговата форма - ако острието му е извито, то лесно отрязва всички малки вени и влакна, предотвратявайки запушването на шнека.
решетки
Те са направени във формата перфорирани стоманени дискове и имат три основни типа, в зависимост от диаметъра на отворите:
- малък: 3.0-3.5 мм;
- средно: 4.5-5.0 mm;
- голям: 8-9 мм.

С помощта на тези устройства получавате мляно месо от различни консистенции от грубо до много фино смилане:първият вариант е добре приготвена маса ядки, а третият - сочен пълнеж за домашно приготвени пасти с зеленчуци.
преса
Изрязаната гайка, която здраво фиксира неподвижната решетка и въртящия се нож в съседство с нея, завършва дизайна, като освен това закрепва всички приставки за различни цели.
В този процес, тази скоба е често непробиваем благодарение на бързото въртене на вътрешните части, поради което скоростните модели имат специално устройство, което улеснява разхлабването на гайката. При модели със стандартна скорост това устройство лесно се отвинтва с помощта на материал, който е прикрепен към него - премахва изплъзването на ръката на мокра повърхност.

поднос
Този също толкова важен компонент на всеки модел се присъединява към горната част на звънеца на механичната част на месомелачката и служи за поставяне на продукти за обработка върху него. Изработен от много трайна пластмасаразмерът му зависи от мощността и производителността на продукта.
За елитните модели тавите са изработени от неръждаем метал, както и основното тяло на продукта.

удобства
Много модели на шлифовъчни машини са оборудвани с допълнителни дюзи и устройства,които помагат да се стисне сок, да се раздробяват зеленчуци, да се приготвят домашно приготвени макаронени изделия, оригиналната форма на бисквити за бисквити или месни деликатеси под формата на колбаси или колбаси.
За изстискване на сок
На практика всеки модерен модерен електрически месомелачка е оборудван с устройства за производство на сок, единствената разлика е в тяхното местоположение:
- шнекът изстисква сока заедно с целулозата решетка с големи отвори;
- винтът се върти вътре цилиндрични рендета, и на практика всички зеленчуци или плодове се смилат в сок.

За раздробяване
Месомелачката може да замени кухненски робот, който е добре да се използва за рязане на зеленчукови салати, когато чакате гости, докато голяма част от продукта остава вътре в продукта. Когато е необходимо да се подготвят същите, но в по-малки количества, електрическият асистент ще се справи с него.
Има специални дюзи за раздробяване, можете бързо и ефективно да приготвяте зеленчуци за салатата за цялото семейство, като спестявате време и усилия.

За колбаси
Какъв човек би отказал домашно ароматна наденица с пипер и ситно нарязана свинска мас? Не е нужно да отивате на пазара или да бягате в най-близкия супермаркет - направете всичко вкъщи със собствените си ръце, като използвате специална дюза, между другото, вашият съпруг ще се радва да ви помогне.

За бисквитки
Домашните бисквити с различна форма могат да се приготвят с електрическа месомелачка, за това има специални инструменти и всяка опитна домакиня има рецепта за тестото. Моля, цялото семейство, гостите на оригиналния формуляр с ароматни сладкиши, които не можете да купите в магазина.

Правила за работа
Преди да започнете да преработвате месо или друг продукт, трябва да го направите Нарежете го на парчетатака че те свободно да преминават през цилиндричната част на приемника. Тласкачът се използва само за натискане на продуктите към шнека, който го избутва към режещия инструмент.
Внимание! Необходимо е да отрежете големи вени от месо, като по този начин предпазвате електрическия мотор на месомелачката от прекомерно натоварване и ножът бързо се загнива.
Всеки шнеков шнеков шнек има специални ребра, които насочват продукта към изхода и го шлайфат по време на промоцията. Този процес, подобно на действието на нож, се осъществява непрекъснато: нови части, поставени в приемника за месо, изтласкват вече смления продукт през решетката в контейнер, който се замества с гърлото. С помощта на електрически модели лесно се правят нежни пасти: броене се извършва няколко пъти, преминаването на крайния продукт през по-малки решетки и добавяне на необходимите съставки.

За да може работата на месомелачката да бъде с високо качество и продуктът да функционира възможно най-дълго, е необходимо стриктно да спазвате препоръките на производителя и простите правила за работа.
- Внимателно проверявайте месото, когато го нарязвате на части за полагане в приемника, ако получите малка кост, това ще доведе до счупване на ножа.
- Ножът в продукта трябва винаги да е остър - това допринася за бързата обработка на всеки продукт.
- Непосредствено след употреба продуктът трябва да се демонтира, добре да се изплакнат всички части и след изсушаване да се сгънат в кутия за съхранение.
- Преди да сглобите вала, ножа и грила отстрани на ножа, съветват специалистите избършете със слънчогледово олио - ще осигури най-доброто преминаване на продуктите в месомелачката и висококачествената работа на триещите се части.
Никога не съхранявайте тялото на продукта, където се получава основното смилане в колекцията, не забравяйте, че в свободно състояние всички части окисляват по-малко и тяхното сглобяване не отнема много време.
Както виждате, устройството на електрическия месомелачка, принципът на работата му е изключително прост, но има много предимства, защото с помощта на прости прикачвания можете да готвите оригинални домашно приготвени деликатеси,ароматни тестени продукти и много други вкусни ястия.

/rating_on.png)
/rating_off.png)


