Ние ремонтираме вратата на пералната машина сами
Ремонт на вратата на пералната машина ще бъде в състояние на всеки домашен майстор, който има желание да направи всичко сам. В тази работа не е необходимо да се втурва. За нейната нужда да се подготви.
съдържание
Подготвителни действия
Преди да започнете работа, трябва да:
- Да проучи устройството и характеристиките на производството на врати.
- Запознайте се с основните техники, които експертите използват при извършване на ремонтни дейности.
- Подгответе инструмент за изпълнение на задачата.
- Купете необходимите помощни материали и оригинални резервни части.
- Ако е необходимо, подгответе едновременно за производството на елементи със собствени ръце.

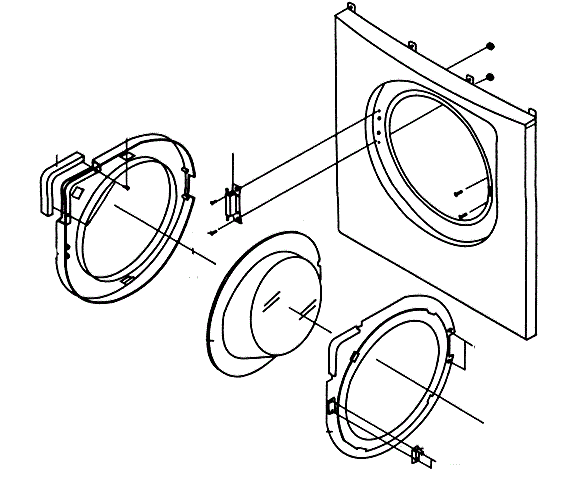
Дизайнът на пералнята на вратата
След като определите алгоритъма за действие, трябва да решите какво и как ще трябва да изпълните, за да може вратата на пералната машина отново да започне да функционира.
Големи аварии
Както показва практиката, на вратата на пералната машина могат да се открият следните повреди:
- Стъклото се пробива в резултат на невнимателно отваряне.
- Повредено ключе. Понякога се зацепва след затваряне на вратата.
- Повреда на пластмасовата опора на контур.
Тези разбивания се откриват при по-внимателна проверка, Остава само да вземем правилния инструмент и да направим ремонт.

Ремонтен инструмент
Основното средство за ремонт на домакински уреди е отвертката. С негова помощ те се отдръпват и обратът на отстранените възли и фрагменти от продукти. Тук трябва да изясните вида на използваните битове. Внасяните перални машини в допълнение към обичайния кръст често използват звездички с различни размери или къдрави профили. Те трябва да имат на разположение. Могат да се изискват и разширители за битове.

Използването на магнитни удължителни кабели ще ви помогне да задържате винтовете при затягане в дълбоки отвори.
Други видове инструменти се изясняват от ремонтните ролки. Те трябва да са в арсенала си да произвеждат висококачествена работа.
Ремонт на ключалки
Ключалките най-често се появяват на лоста на лоста, влизащ в дупката. Те пречат на нормалната работа. Процедурата за определяне на разбивка е проста:
- Вратата от машината се развива и се побира на масата.
- Използвайки файл или файл с тънък щръб, смилайте прорез.
- Преди да го инсталирате, трябва да нанесете графитна грес и след това да изтриете излишното, така че графитът да не замърсява предметите, предназначени за измиване.
- Вратата се връща на мястото и се фиксира с винтове.
Някои врати на пералната машина можете да премахнете ключалката, Ако дизайнът позволява премахването, по-добре е да го махнете и да го фиксирате, когато завъртите зъбчето.
Поправете повреденото стъкло
Поправянето на повреденото стъкло по-трудно. Тук трябва да използвате полиестерна или епоксидна смола. След отстраняване на вратата трябва да се има предвид възможност за сваляне на стъклото, Най-често тя не се премахва. Следователно, тя се ремонтира както следва:
- Към предната повърхност се придържа пластмасов филм. Може да се наложи да използвате лента с шотландска лента. Пропуските не се допускат.
- Закрепващата лента се поставя върху съществуващия отвор, изискващ запечатване, който се използва за мазилка.
- В отделен контейнер, съгласно указанията, подгответе смолата.Разбъркайте в необходимите пропорции основа и втвърдител.
- След готвене смолата се излива на правилното място.
- Обикновено полимеризацията протича в рамките на 24 часа. След това, пластмасовото фолио се отстранява.
- Чрез шкурка се отстраняват петна.
Лесно е да ремонтирате стъклото на вратата на пералнята.
Поправете пластмасова опора
За да поправите поддръжката, изпълнете следните операции:
- Поддръжката е премахната.
- Счупената част е свързана и фиксирана в порок.
- За отстраняване на щетите с помощта на нокът с диаметър 4 мм. Тя се изрязва до желаната дължина.
- В комбинираната счупена подпора се пробива проходен отвор с диаметър 3,8 мм.
- Пиронът се държи с клещи, загрява се до температура около 180 ° C и след това се вкарва в пробития отвор.
- След охлаждане в продължение на две до три минути, можете да съберете вратата и да я поставите на място.
С малко усилия можете да поправите всеки продукт със собствените си ръце, включително и вратата на пералнята

/rating_off.png)


