Сменете лагера на пералнята Аристон
Продължителното действие на пералната машина води до факта, че гуменото уплътнение се втвърдява и започва да държи слабо водата, която пада върху лагера. От въздействието на влагата, той ръждясва и се проваля. обикновено лагери на пералната машина Аристон служи 6-10 години, но ако те са изложени на влага, тогава замяната на лагерите ще се изисква много по-рано.

Подготовка за работа
Преди да започнете ремонта, е необходимо да изключите пералната машина от мрежата и да осигурите удобен достъп от всички страни. Освобождаваме резервоара, ако има нещо в него, и подготвяме необходимите инструменти. Ще ви трябва:
- Филмс отвертка;
- плоска отвертка;
- набор от ключове.
Не забравяйте да изключите всички връзки и маркучи и за да не запълнете пода, пригответе още няколко резервоара.
AGR процес на разглобяване
Разглобете пералнята трябва да стигнете до резервоара.За да го премахнете, изпълнете следните стъпки:
- Изключете щепсела от задната стена, развийте държача на скобата дренажен маркуч, Извадете тръбата от резервоара.
- Изключете съединителя за захранване на двигателя.
- Извадете задвижващия ремък - по-добре го направете отстрани на барабана.
- Извадете електродвигателя. За да направите това, не е нужно да развивате напълно болтовете, след което внимателно да натискате монтажните болтове, за да преместите мотора от бегачите. Веднага щом се поддаде, отвъртаме всичко напълно и го извадим.
- Издърпайте двигателя отоплителен елемент, Намира се в дъното под барабана.
- Изключете останалите жици.
- След това, за да стигнете до резервоара на пералня Аристон, трябва да махнете горния капак. Тя е закрепена с два винта към задната стена, откъдето трябва да извадите капака назад и да го извадите от колата.
- След като свалите горния панел, е необходимо да извадите контейнера за прах и да го извадите от барабана. Това отваря достъпа до останалите монтажни винтове. Разпространявайте ги също.
- Извадете контролния блок.
- За да демонтирате резервоара, е необходимо да изключите гуменото уплътнение. Той е прикрепен към предната стена с метална скоба с пружина.За да намерите пролетта, трябва да проверите печатът около периметъра. След като намерите пружината, трябва да я разкачите с плоска отвертка, като я издърпате заедно със скобата.
- Слез ключалка на люка, Той се монтира на 2 болта в дясната страна.

На практика сме освободили резервоара, но за цялостното му премахване е необходимо да го извадимпредния панел, В пералната машина, Аристон, за това е необходимо да изключите основния панел - под крепежните елементи на предната стена са скрити. Тя почива на няколко винта. За да премахнете предния капак, го преместете нагоре.
С отстранения отпред капак лесно можете да стигнете резервоар баланси и ги развийте. Задните тежести са прикрепени към дъното и горната част на резервоара с три болта. За резервоара е подходящ обем от каучук, който приляга на скобата. Тя трябва да бъде премахната и след това не можете да изключите всички елементи отделно, а просто да избутате всичко излишно.
Остава да изключите резервоара за окачване и превключвателя на нивото на тръбата. Струва си да започнете с амортисьори, Те се намират в долната част на пералната машина. Откачете амортисьора от резервоара, издърпайте пластмасовия щифт с капаче.За да се улесни разглобяването на щифта, е необходимо винтът да се завинти и да се издърпа, като същевременно се стиска ключалката с капачка.
Да се премахне окачени пружини, трябва да ги отрежете с плоска отвертка. Просто закачете монтажа с отвертка и изключете барабана. Сега отново проверете дали всички елементи са изключени от резервоара. За да издърпате резервоара, трябва да го повдигнете и да го издърпате към себе си.
Барабанът е най-добре да се постави върху маншета, в противен случай може да повредите пластмасовите елементи и крепежни елементи.

Разглобете барабана
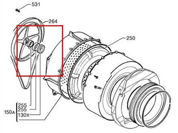
- Нека да започнем с премахването ролка, Челната ролка трябва да се заключи и да се развие монтажният болт. След това извадете ролката от вала.
- Намира се под ролката външен лагер, За да го премахнете, трябва да поставите носача и да направите няколко удара с чук.
- Премахването на външния лагер е необходимо разглобявайте резервоара, По периметъра двата половини на барабана се завинтват заедно. Резервоарът закрепва не само на болтове, но и на ключалки. За да не се счупят, е необходимо двете половини да се разделят с отвертка с отвори.
Демонтираният барабан - обърнете внимание на вала и ръкава. Не трябва да бъде механична повреда, ако ги намерите, най-добре е да ги промените. Основното е, че новият лагер в пералната машина приляга плътно към главината, в противен случай водата отново ще попадне в барабана. Също така трябва да проверите монтажните стойки.
Старите лагери трябва да бъдат свалени, проверени и почиствани, а след това да бъдат заменени с нови. Всичко си струва грес, след което след ремонт пералната машина ще продължи дълго време. Новите лагери трябва да бъдат внимателно натиснати; за тази цел е необходимо да се удари длето в кръг. Ударите трябва да се поставят, докато новата част не лежи и ще седне здраво на седалката.
Преди сглобяването на барабана, сменете всички уплътнения и нанесете уплътнител, в противен случай ремонтът ще трябва да се повтори много скоро.
монтаж
Събирането на пералната машина е в обратен ред. При монтажа не забравяйте да проверите дали всички елементи се прилепват плътно и че сглобките са здраво сглобени. По-добре е да монтирате и фиксирате електрическия мотор, преди да инсталирате резервоара в случай на пералната машина.
След като съберете пералната машина, проверете тестовото измиване. В резервоара не трябва да бъде спално бельо, а температурата, от която се нуждаете, за да изберете малка, 60-70 градуса, ще бъде достатъчна.

/rating_on.png)
/rating_off.png)


