Защо шевната машина пропуска линията
Подобно на всеки механизъм, шевната машина е обект на различни аварии, но за устройства от този тип има типични и най-често срещани случаи. Например, защо шейната машина прескача шевове при шиене? За да отговорите на този въпрос, трябва да погледнете вътре в устройството и да научите характеристиките на функционирането му.
съдържание
Как се образува шев
Така наречената шивашка линия се появява в резултат на взаимодействието на иглата и специалното устройство за задвижване. Лодката на совалката се приближава до иглата и повдига цикъла от нея.След това частта завърта горната нишка и създава совалка.

Ако механизмите работят гладко и настройката на шевната машина не е нарушена, изпускането на линията по време на шиене е изключено. Въпреки това, в случай на неспазване на правилата за експлоатация или в резултат на влошаване на частите в процеса, могат да възникнат неизправности. Обмислете примери за ситуации, които водят до формиране на пропуски в шевовете и как да ги премахнете.
Трансфери
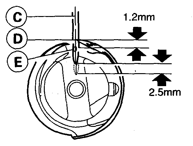
Разстоянието между точката на иглата и носа на совалката надвишава 0,3 mm допустимо, В някои случаи разликата може да се различава с повече от един милиметър. Това води до факта, че совалката, преминаваща през цикъла, не е в състояние да хване нишката и да образува бод. Това се случва като логичен резултат от използването на нискокачествени тъкани и нишки, дефектни игли, дефектни части. Също така, пролуките са причинени от слабо разтеглени нишки и неправилно оразмерени игли. За да премахнете проблема, внимателно проверете совалката на устройството и изпълнете необходимите процедури за възстановяване на работата.

Повредена игла
Неправилните настройки на шевната машина могат да накарат шевната машина да пропусне шевовете.С течение на времето, особено след честа употреба, иглата на шевната машина може да промени позицията си или дори да се огъне. Това може да засегне не само равномерността на линията, но и работата като цяло. За да премахнете проблема, извадете капсула на калерчето и внимателно го проверете.
- Проучете състоянието на иглата: ако е така отклонява се отстрани, затъпете върха или имате външни повреди, заменете го с нов.
- Когато инсталирате нова част, уверете се, че е поставена докрай. Също така проверявайте плътността на специалния винтове за фиксиране, Ако е хлабав, използвайте включената отвертка и го затегнете.

- Вземете иглата в правилната позиция. Проверете гнездото на кутията на калерчето. Бавно завъртете ръчното колело и наблюдавайте движението на иглата. Уверете се, че иглата падне под горната част на куката за конец.

- С помощта на иглена бара постигане на желаната височина за иглата. Леко го спускайте, докато не видите правилната позиция на частта.
- Вижте как се държи нишката, минавайки през механизма. Поставете качествения материал в машината и поставете маховика в движение.Постигане на свободно преминаване на конеца, без удари и прекомерно напрежение.
Настройването на такъв точен механизъм изисква специално внимание и стремеж. Ако нямате достатъчно търпение или липсвате подходящите инструменти, консултирайте се с компетентен специалист.

Неправилна връзка
Шевни машини на чайка, както и модели на други фирми, може да не работят правилно поради несъответствия в дебелината на конеца към иглата. Малка или твърде тънка игла просто не може да манипулира обемистия материал, прескачайки шевовете или ги прави неравномерни. От друга страна ще бъде по-лесно да се образуват циркуляри, което ще наруши хармонията на работата. За да елиминирате избора на подходяща номерираща нишка. Преди работа, не забравяйте да се запознаете с ръководството за експлоатация на устройството.
Висок ъгъл на отклонение
Задната част на совалката е оформена от бримката, необходима за бод. По-високият ъгъл увеличава шанса за прескачане на бод, както и прекалено малък цикъл. Какво да направите в подобна ситуация? Опитайте се да поставите лентата на иглата под прав ъгъл, внимавайте да не повредите устройството. Освен това частта може да бъде надстроена чрез добавяне на нея ново търсене, Изберете подходящ ъгъл за вашето устройство и изпълнете необходимата процедура.

Образуване на вход от от страната, противоположна на иглата
Феноменът е често срещан механизъм, който се използва полирани нишки, Тяхната еластичност е няколко пъти по-висока от същите показатели за негъвкави прежди. Тъй като по-голямата част от производителите са съсредоточени върху използването на не-лъскави материали, устройството може да не функционира правилно.
За да се елиминира необходимостта от постигане на оптимален ъгъл на отклонение на нишката. В екстремни случаи можете леко да увеличите хода на совалката, като създадете кота на корпуса й. За тази цел се използва калай с помощта на спояващо желязо. Те са залепени в обратна посока с иглата, оставяйки 0,8 милиметра между отвора и иглата. Подмяната на нишките с по-добра може да помогне.

Проблеми с найлонните нишки
Шевната машина "Чайка" може да премине шевове по време на работа с найлонова нишка. Това се дължи на специалните свойства на материала, които могат да попречат на триенето с иглата. Когато иглата се повдигне, конецът просто не образува входна линия. Също така, найлонът може да се деформира и да достигне до иглата. Всичко това нарушава естествения процес на работа, създавайки недостатъци.
Тази уязвимост налага да се спазват следните инструкции за всички модели шевни машини.
- Необходимо е да преминете към употреба тънки игли и конци.
- Регулирайте пролуката между иглата и носа на совалката до минималната позиция.

- Регулирайте равнината на въртене на совалката и я поставете на 0.05 милиметра.
- Обърнете специално внимание на качеството на нишките, използвайте само професионални нишки от реномирани производители.
Почти всяко устройство може да бъде конфигурирано да работи с найлон, но всички манипулации могат да отидат в пепел, ако качеството на конеца е неприемливо.
Широк отвор на плочата на иглата
Ако собственикът многократно е нарушил правилата за използване на машината, не се изненадвайте от бързото износване на някои от частите. Например, типично за "Chaek" е да разбие голяма дупка в плочата с игла. Иглата носи по време на повдигане нишка и това от своя страна няма време да образува достатъчно цип, за да се захване. Това може да бъде коригирано само чрез подменете счупената плоча по нов. Ще трябва да прекараме времето да намерим дясната част и да я поставим на мястото на старата.

Twisted thread
В случай на неправилно позициониране на резбата или нейното усукване, входът на цикъла преминава отстрани. В тази позиция той се отклонява твърде много от желания ъгъл от деветдесет градуса и совалката не може да я залови. Разбивката ще бъде премахната, ако замяна на низове, Можете също така да проверите състоянието на целия механизъм и да го замените в случай на неизправност. Това е крайна мярка, не бързайте да придобиете нови части. В повечето случаи разбивките са напълно ремонтируеми дори вкъщи.
Това са основните причини, поради които шевната машина понякога пропуска шевове. Внимателно проверявайте състоянието на малките елементи на устройството, защото те са много лесно повредени. Навременната проверка ще ви помогне да избегнете сериозни щети.

/rating_off.png)


